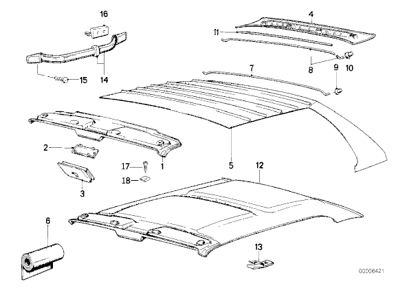
Looking for a front headliner/ sun visor panel for an electric sunroof car. Would consider paying a premium for one that's in new condition. Let me know what you got. #1 in the diagram.
WTB Visor panel
Collapse
X
-
pretty sure we still have a minty one pulled somewhere ill double check though, pm me if interestedShawn @ Bimmerbuddies
Bimmerbuddies LLC
717-388-1256
2971a Roundtop Rd, Middletown PA 17057
bimmerbuddiesllc@gmail.com -

Comment