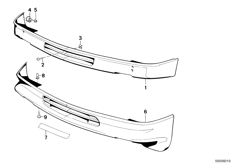
Looking for the lower front valance with oil cooler grille in it from an early model/convertible, part number 51 71 1 933 510. BMW-classics.com also lists part number 51 71 1 943 868 as numbers 1 and 6, respectively in this diagram.
WTB Convertible Front Valance
Collapse
X

Comment