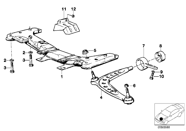
Need the "Front Axle Support" #1 in the picture. My sway mounts broke. Let me know if you've got a junker you can part this out of. They usually get thrown away.
I'm trying to stay out of the junkyards!
I'm trying to stay out of the junkyards!

Comment