Ok so Ive been searching and cant find out a few things
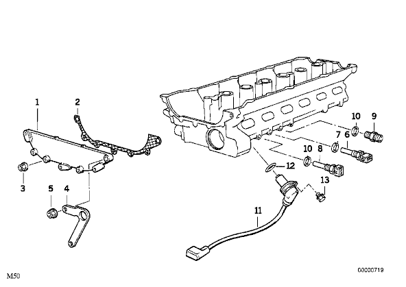
What sensor needs to be replaced on the m50 one closest to front of engine or one closest to rear.
and can i get the part number of the sensor from the m20? that i need.
Thanks for any help I have been looking and cant find a definite answer
What sensor needs to be replaced on the m50 one closest to front of engine or one closest to rear.
and can i get the part number of the sensor from the m20? that i need.
Thanks for any help I have been looking and cant find a definite answer

Comment