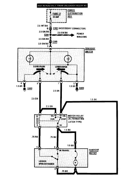
hi guys I have an issue with the sunroof motor, it only opens it doen´t closes the sun roof, I tested using different switches and motors and the relay as well, you guys have any suggestions for this type of matter
It looks like the motor is not changing polarity
I LL APRECIATE YOUR HELP
It looks like the motor is not changing polarity
I LL APRECIATE YOUR HELP

Comment