Yesterday I was checking my fuel pump and thought it was a good idea to see if it was wired incorrectly. I changed the polarity on the fuel pump and tried to crank then blew a fuse. Genius I know. Anyway reversed the wiring and now the started won't do anything. No clicks nothing. I though it could be a dead battery considering I have been using a used battery and draining it on occasion. So I went and bought a brand new battery and still nothing. Checked all my fuses they are all good but not crank. Did I fry my starter or is there something else I should check. By the way I have 12v at the start and battery.
other issues i am having. I have brand new fuel pump and I am only getting 10 psi. I checked by putting a t in between the fuel rail and the fuel line. This is what make me think I have the terminals on the fuel pump backwards. new fuel filter also. no leaks in the lines anything else I can check?
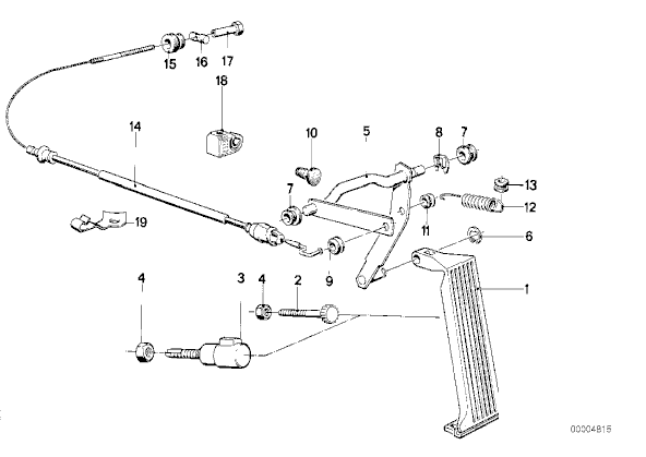
last issue I had to install a new throttle cable because the old one was broken. there was an adjustment screw on the end that I lost. The new cable has some slack to it and the adjustment screw would fix that.

Its #17 anyone have a part #
other issues i am having. I have brand new fuel pump and I am only getting 10 psi. I checked by putting a t in between the fuel rail and the fuel line. This is what make me think I have the terminals on the fuel pump backwards. new fuel filter also. no leaks in the lines anything else I can check?
last issue I had to install a new throttle cable because the old one was broken. there was an adjustment screw on the end that I lost. The new cable has some slack to it and the adjustment screw would fix that.
Its #17 anyone have a part #


Comment