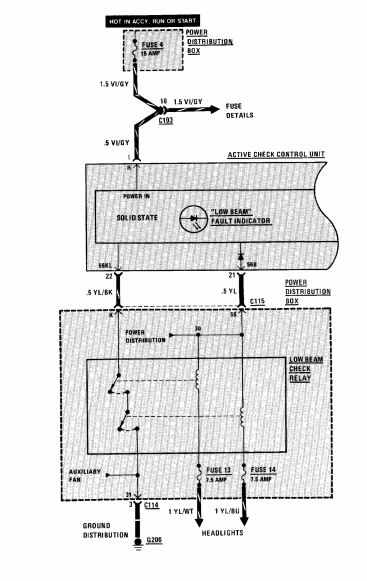
I recently installed some LED headlights (save your derision, I like the look) and the low beams only draw ~1.5A, so the low beam check light is on. I know I can install a ~6ohm resistor in parallel to draw more, but that seems silly to me - generating 24W of heat all the time just to remove a check light.
Is there a way to non-destructively disable the low beam check light? I'd like to be able to re-enable it later on if I change course.
Is there a way to non-destructively disable the low beam check light? I'd like to be able to re-enable it later on if I change course.


Comment